●特徴
屋内に適する合成ゴムにより成形したもので、製造段階において裏面に無溶剤性の特殊なゴム系粘着剤を感圧処理した製品です。使用にあたっては専用のプライマー剤で仕上げ床材面を処理して直接に貼着するタイプです。施工が簡単で耐候性、耐磨耗性、耐熱性になどに優れています。

メーカー直送のため代引きでの決済は不可となります。
銀行振り込み・コンビニ・クレジット・後払い決済でご購入下さい。
アラオ株式会社 ~商品カタログはコチラ~
商品説明
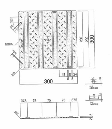
●特徴屋外に適する合成ゴムにより成形したもので、製造段階において裏面に無溶剤性の特殊なゴム系粘着剤を感圧処理した製品です。使用にあたっては専用のプライマー剤で仕上げ床材面を処理して直接に貼着するタイプです。施工が簡単で耐候性、耐磨耗性、耐熱性になどに優れています。全面を粗面仕上げとチェッカー加工による防滑性を考慮し、また四隅を面取り加工して剥離防止を考慮した屋外用の製品です。型番:SM300-JN
商品仕様
| 製品名: | 点字タイル 300角 誘導 屋外用 5582 |
|---|---|
| 型番: | 5582 |
| メーカー: | 株式会社つくし工房 |
| 外寸法: | 幅300mm × 奥行300mm × 高さ2mm |
お客様の声
| saiko-様 | 投稿日:2017年06月07日 |
おすすめ度:
|
|
|
いい商品でした。
|
|





